Printable Version | Subscribe | Add to Favourites
New Topic New Poll New Reply
Author: Subject: Handling issues
roadrunner

posted on 23/10/09 at 11:07 AM Reply With Quote
Handling issues

I have never been overlie confident with my handling and set up, i know i need to get it set up professionally.
Me personally thinks it is the corner weights that is the biggest issue, i might be wrong, here are reasons.
1- under heavy breaking it is always the offside front that locks and never the nearside front.
2- when cornering, if i turn sharp left you can feel the car bite into the tarmac instantly and respond straight away, but when i turn right the back end seems to sag down and it doesn't feel as responsive.
Should i try and adjust one of the back ride height to compensate and see if it improves.
Thanks
Brad.

View User's Profile View All Posts By User U2U Member
twybrow

posted on 23/10/09 at 11:50 AM Reply With Quote
Get it done proper. TBH, corner weights in a two seater car are a bit academic - you will never get them exactly right.

- could you have a sticky caliper on one side, or a biit of air in the system?

- have you checked your front geometry accurately? Are you running the correct camber/castor/toe in on both front and rear wheels (if IRS)?

View User's Profile View All Posts By User U2U Member
roadrunner

posted on 23/10/09 at 11:58 AM Reply With Quote
quote:
Originally posted by twybrow
Get it done proper. TBH, corner weights in a two seater car are a bit academic - you will never get them exactly right.

- could you have a sticky caliper on one side, or a biit of air in the system?

- have you checked your front geometry accurately? Are you running the correct camber/castor/toe in on both front and rear wheels (if IRS)?

I am going to get it done proper at some point just that money isnt exactly spilling out of my pocket at the moment.
My callipers do seem to be working ok and the pipes have been bled so there should'nt be any air in the system.
The front geometry as been done by me so it could be anywhere.
Thanks

View User's Profile View All Posts By User U2U Member
turbodisplay

posted on 23/10/09 at 11:59 AM Reply With Quote
On my astra mk3 the nearside locks when i am driving, when i have a passenger it is about right. If it is the offside i would say a caliper problem as there should be a significant weight difference in favour of the offside.

Thanks
Darren

NOTE:This user is registered as a LocostBuilders trader and may offer commercial services to other users
View User's Profile E-Mail User Visit User's Homepage View All Posts By User U2U Member
David Jenkins

posted on 23/10/09 at 12:32 PM Reply With Quote
Although the best answer is to get it done professionally, there's quite a bit that you can do to get it fairly close:

1. Check your tyre pressures are the same on each side of the car!

2. Corner weighing - easy enough to do with a few cheapo scales (although I borrowed a proper tool! ). Made a very big difference to my car.

3. Shocks setting - do the clicks match on each side of the car? Mr Protech will say that those clicks don't mean a lot - but counting the clicks is the best we can do without using specialist test kit.

4. Ride height - also easy to do. I have the back of my chassis approx 1" higher than the front. If it's the other way around then you may find it all floaty at speed!

5. Wheel camber at the front - nice to have them both matching, whatever angle you choose! (unless you're going oval racing).

6. Tracking and wheel alignment - I got mine done with a fancy laser gadget at my local (trusted) garage. If you have toe-out it will go into corners really well, but will probably be scary in a straight line. If you have toe-in it will be stable in a straight line (if everything else is OK) but won't snap into a corner so quickly. I compromised and set mine parallel (0 degrees).

This is all my personal opinion - but these steps worked for me. I'm sure that Protech could make my car a lot better, but I still reckon it's pretty good for the time being.






View User's Profile Visit User's Homepage View All Posts By User U2U Member
roadrunner

posted on 23/10/09 at 12:36 PM Reply With Quote
Thanks fellas, i am convinced it's the corner weights, i will have to buy some cheap scales, can it be done by jacking the back and setting the corners and then jacking up the front or does it have to be all four corners at once.
Brad.

View User's Profile View All Posts By User U2U Member
ReMan

posted on 23/10/09 at 12:45 PM Reply With Quote
Second all of Davids locost solutions.

Also what spring rates do you have, because the std supply front springs are too hard for a BEC

View User's Profile Visit User's Homepage View All Posts By User U2U Member
roadrunner

posted on 23/10/09 at 12:55 PM Reply With Quote
quote:
Originally posted by ReMan
Second all of Davids locost solutions.

Also what spring rates do you have, because the std supply front springs are too hard for a BEC

I have gone from Pinto to Bike engine but i have also replaced my front springs to compensate for a lighter engine.

View User's Profile View All Posts By User U2U Member
roadrunner

posted on 23/10/09 at 12:58 PM Reply With Quote
One thing i will say is that i am going to try different tyre pressures, mine are set at 17-18 PSI but i am running 215-40-17 tyres so i think i need a lot lower tyre pressure.
View User's Profile View All Posts By User U2U Member
Frosty

posted on 23/10/09 at 01:30 PM Reply With Quote
quote:
Originally posted by roadrunner
Thanks fellas, i am convinced it's the corner weights, i will have to buy some cheap scales, can it be done by jacking the back and setting the corners and then jacking up the front or does it have to be all four corners at once.
Brad.

It's not corner weights at this stage. If you haven't ever set up the car then it's far more likely to be something else.

If you have more camber one side than the other, this will be by one wheel locks up first. Set the car up from start to finish - ride heights, camber, and toe. If you still have inconsistencies from right to left and under braking then start looking at more advanced things like corner weighting.

Oh and 17 inch wheels on a BEC? They must look MASSIVE on a kit car!

View User's Profile View All Posts By User U2U Member
roadrunner

posted on 23/10/09 at 01:34 PM Reply With Quote
[img][/img]
View User's Profile View All Posts By User U2U Member
David Jenkins

posted on 23/10/09 at 01:35 PM Reply With Quote
I missed one thing out regarding toe-in & toe-out - if it's different on each side then the behaviour on corners will be similar to what you describe, ready & able one way and less willing the other way. Combine that with wrong corner weights and your life will be 'interesting'.






View User's Profile Visit User's Homepage View All Posts By User U2U Member
zilspeed

posted on 23/10/09 at 02:03 PM Reply With Quote
quote:
Originally posted by roadrunner
One thing i will say is that i am going to try different tyre pressures, mine are set at 17-18 PSI but i am running 215-40-17 tyres so i think i need a lot lower tyre pressure.



Ding...

Have you considered something more compliant and generally suited to a very light car ?
Hate sounding like a scratched record, again, but yes once more, I suggest 13" wheels with 185/60s on the front and the same or possibly 205/60s on the back if you must.






View User's Profile E-Mail User View All Posts By User U2U Member
David Jenkins

posted on 23/10/09 at 02:24 PM Reply With Quote
I'm even more old-fashioned - I've got 185/70 all round, on 13" wheels!

And I also think that ultra-low profiles don't suit the Locost's old-style suspension & low weight. Look pretty though!






View User's Profile Visit User's Homepage View All Posts By User U2U Member
Daddylonglegs

posted on 23/10/09 at 02:38 PM Reply With Quote
quote:
Originally posted by Frosty
Oh and 17 inch wheels on a BEC? They must look MASSIVE on a kit car!


Big yes, but I must admit, they look pretty damn good!

Nice one mate





It looks like the Midget is winning at the moment......

View User's Profile View All Posts By User U2U Member
ReMan

posted on 23/10/09 at 03:22 PM Reply With Quote
quote:
Originally posted by roadrunner
One thing i will say is that i am going to try different tyre pressures, mine are set at 17-18 PSI but i am running 215-40-17 tyres so i think i need a lot lower tyre pressure.


Hmmm, not much give in them baby's!

View User's Profile Visit User's Homepage View All Posts By User U2U Member
andylancaster3000

posted on 23/10/09 at 03:50 PM Reply With Quote
Another one for corner weights here. Many argue that it's very tricky to properly set the corner weights up with a car that has lots of of centre weight (such as a driver) due to the dynamic effects of which. However, you can make significant improvements from my experience by balancing the corner weights as best you can statically (obviously with you in it!)

When we were testing the Locost the other year, before first test we had very limted time to set the car up and did the preloads purely on the desired ride height and it was pretty awful. Locking one inside wheel the whole time and struggling with traction on the diagonally opposed wheel. Next time out, having seen to the corner weights, car was transformed.

Obviously you want to be checking the obvious things first like tyre pressure and any indications of sticking calipers. But I'm sure a lot of your troubles would be solved with some time spent setting the suspension up properly (oh, and putting some 13''s with sticky yokos on too )

[Edited on 23/10/09 by andylancaster3000]

View User's Profile View All Posts By User U2U Member
jack_t

posted on 23/10/09 at 04:51 PM Reply With Quote
MK themselves recomend

camber 1 degree all round
tracking parrel
tire pressure 18 psi
shock settings all the way out then 6 clicks back






View User's Profile View All Posts By User U2U Member
JimSpencer

posted on 23/10/09 at 05:21 PM Reply With Quote
El cheapo corner weighting

Hi

Assuming you've done, toe, camber, ride heights (with a bit of rake in it) and preferably put more compliant wheels / tyres on it..

Then

This is the cheap and nasty, but fairly accurate, method of corner weighing a car.
(probably as 'accurate' as using bathroom scales anyway!)

Insert ballast roughly equel to your weight in drivers seat (my missus sat on a power pack here )

Chock the rear corners of the chassis (The chassis / floor rails immediatly in front of the rear axle is easiest) so there's no weight on the rear suspension.
Use a pole and fulcrum (i.e. a Scaffold pole & brick!) lift the chassis at the front - dead centre.

Using your eye.. watch which side unloads first, adjust the FRONT spring seats until equal.

Remove chocks from under rear of chassis, repeat lifting at front using pole & fulcrum.

adjust REAR spring seats until the front's are loading / unloading as equal as possible.

That should get you roughly close until you can have it / afford it done properly.

[Edited on 23/10/09 by JimSpencer]

View User's Profile E-Mail User View All Posts By User U2U Member
britishtrident

posted on 23/10/09 at 06:37 PM Reply With Quote
Fix the Corner weights
View User's Profile View All Posts By User U2U Member
mad-butcher

posted on 24/10/09 at 08:12 AM Reply With Quote
A set of wozshers wishbones helps alot

tony

View User's Profile E-Mail User Visit User's Homepage View All Posts By User U2U Member
andkilde

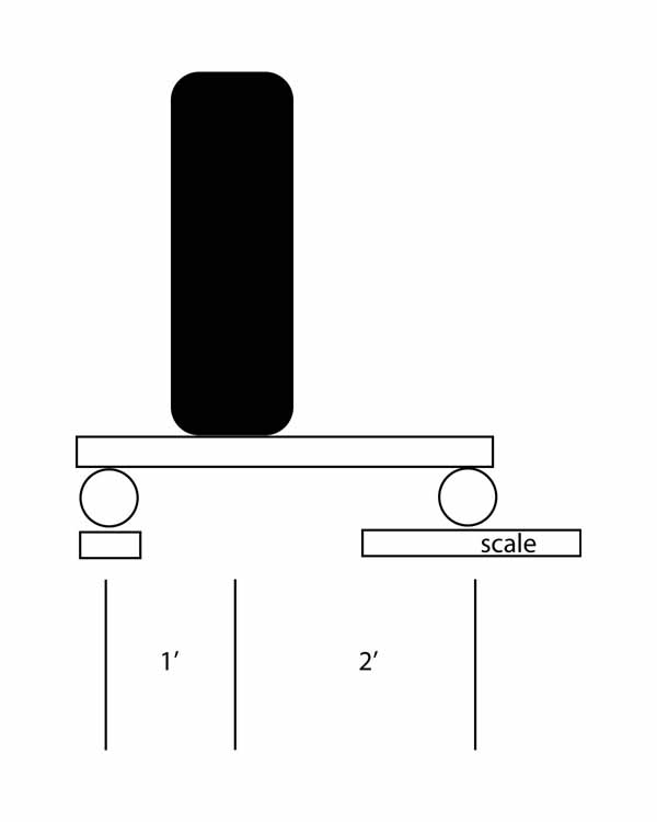
posted on 24/10/09 at 07:05 PM Reply With Quote
You can do locost corner weighting with a set of bathroom scales as well.

Use a bit of wood and two lengths of dowel as a lever arm to get your indicated weight below 300lbs (where most bath scales give up).



As pictured this will show half the actual weight on the scale, changing it to 1' and 3' will show 1/3 etc.

You'll need to space the other three corners up so the car is level.

Cheers, Ted

[Edited on 24/10/09 by andkilde]

View User's Profile E-Mail User Visit User's Homepage View All Posts By User U2U Member

New Topic New Poll New Reply


go to top






Website design and SEO by Studio Montage

All content © 2001-16 LocostBuilders. Reproduction prohibited
Opinions expressed in public posts are those of the author and do not necessarily represent
the views of other users or any member of the LocostBuilders team.
Running XMB 1.8 Partagium [© 2002 XMB Group] on Apache under CentOS Linux
Founded, built and operated by ChrisW.