Printable Version | Subscribe | Add to Favourites
New Topic New Poll New Reply
Author: Subject: Shocks wanted.
owelly

posted on 28/5/08 at 08:02 PM Reply With Quote
Shocks wanted.

When I first got the car on the road, it handled OK. Over the following few miles, the rear end has been a bit wayward. I was blaming it on the tyres but whilst attempting a spirited launch, the tyres were bouncing all over the place. I quick peek under the arch revealed a pair of very oily rear shocks hence the severe lack of damping.
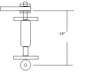
So, does anyone have a pair of un-leaky shocks with platforms to take 2.25" springs. I've made an excellent drawing to show the size but I can tailor the car to suit.

Cheap is good as I'm still battling with the purse strings for the PPC£999 challenge!
Cheers folks





http://www.ppcmag.co.uk

View User's Profile E-Mail User Visit User's Homepage View All Posts By User U2U Member

New Topic New Poll New Reply


go to top






Website design and SEO by Studio Montage

All content © 2001-16 LocostBuilders. Reproduction prohibited
Opinions expressed in public posts are those of the author and do not necessarily represent
the views of other users or any member of the LocostBuilders team.
Running XMB 1.8 Partagium [© 2002 XMB Group] on Apache under CentOS Linux
Founded, built and operated by ChrisW.